Галифанов

Кандидат с/х наук
Cтарший научный сотрудник
Автор более 200 научных статей
Создатель 51 изобретения
Автор научных книг

Геннадий галитович

Туркменский изобретатель и ученый

Охраноспособность товарных
знаков, 2014 г.

Охраноспособность и охрана товарных знаков, 2018 г.

авторские книги

Научная и изобретательская деятельность

Проблемы изобретательства, том 1, 2023

Кандидат сельскохозяйственных наук, заведующий лабораторией туркменского научно- исследовательского института гидротехники и мелиорации, старший научный сотрудник, изобретатель Галифанов Геннадий Галитович является автором более 200 научных статей в области сельского хозяйства, мелиорации земель, эксплуатации гидромелиоративных систем и охраны интеллектуальной собственности, в том числе книг «Охраноспособность товарных знаков» (2014), «Охраноспособность и охрана товарных знаков» (2018) «Проблемы изобретательства (1 том, 2023), а также пятидесяти одного изобретения, защищенных авторскими свидетельствами СССР и патентами Российской Федерации.

Отрадно, что один из соавторов Галифанова Г. Г., прекрасно исполнявший чертежи к изобретениям в период работы с Галифановым Г. Г. в туркменском НИИ гидротехники и мелиорации, был в сентябре 2022 года награжден руководством Евразийского патентного ведомства золотой медалью В. И. Блинникова «За вклад в изобретательское и патентное дело».

С целью создания энтузиазма и творческой атмосферы в коллективе Галифанов Г. Г. привлекал к изобретательской деятельности многих подающих надежды сотрудников лаборатории. Он также вовлекал в эту деятельность сотрудников опытных станций и опорных пунктов института, а также руководство районов, колхозов и управлений оросительных систем. Такой стиль сплоченной работы выливался в продуктивное решение проблем сельского и водного хозяйства путем выполнения под его научным руководством хоздоговорных работ различной тематической направленности.

После развала Советского Союза и аттестации в качестве патентного поверенного Галифанов Г. Г. не прекратил заниматься изобретательской деятельностью с тем отличием, что ввиду необходимости оплачивать за патентование изобретений пошлины, а также из соображений соблюдения профессиональной этики патентного поверенного его новые изобретательские идеи приобрели характер ноу-хау, хранящиеся в "ящике стола". Таких ноу-хау за истекшее время накопилось около ста. С переходом Галифанова Г. Г. на выполнение профессиональных обязанностей патентного поверенного все его прежние соавторы прекратили изобретательскую деятельность.

Ряд изобретений Галифанова Г. Г. был внедрен в свое время с большим экономическим эффектом в сельском и водном хозяйстве Туркменистана. Внедрялись в основном простые и малозатратные новшества. Сложные в исполнении, требующие больших материальных и финансовых вложений для доводки до уровня промышленного использования, изобретения не получили применения. За свои достижения в научном и изобретательском творчестве Галифанов Г. Г. награжден орденом «Знак почета» (1987 г.), Золотой медалью ВОИС (2003 г.), денежными премиями и многими другими знаками отличия.

С обретением Туркменистаном независимости Галифанов Г. Г. принимает активное участие в становлении в стране системы охраны интеллектуальной собственности. В 1997—2014 гг. в составе методического совета Туркменпатента занимался разработкой проектов соответствующего национального законодательства. В настоящее время ведет просветительскую работу, везде и во всем проявляет обязательность и ответственность, независимость суждений, инициативность, открытость, неравнодушие и целеустремленность. В свободное от профессиональных обязанностей время Галифанов Г. Г. увлекается литературным творчеством. В молодые годы активно занимался гантельной гимнастикой и борьбой карате. В настоящее время продолжает поддерживать себя физическими упражнениями в хорошей спортивной форме. Список находящихся в открытом доступе изобретений Галифанова Г. Г. приведен ниже:

Орден «Знак почёта», 1987 г.

Золотая медаль
ВОИС, 2003 г.

изобретения

Авторское свидетельство СССР № 1 161 055
«Гербицидный состав»

Изобретение относится к химическим средствам для
борьбы с сорной и нежелательной растительностью,
в частности для искоренения с многолетних
корнеотпрысковых сорняков. Данная цель достигается
тем, что содержащая натриевую соль α, α -
дихлорпропионовой кислоты дополнительно содержит
4-амино--3,5,6-трихлорпиколиновую кислоту при
массовом соотношении компонентов 7:1 соответственно.

1983

1984

Авторское свидетельство СССР № 1 236 054
«Способ химической защиты облицовок каналов
от разрушений растительностью»

Изобретение относится к строительству оросительных
систем с антифильтрационными покрытиями.
Сущность способа состоит в обработке системными
гербицидами трассы пролегания каналов. После
100%-ной гибели сорняков проводят устройство
земляного ложа и укладку антифильтрационных
покрытий в течение не более 15 суток.

1986

Авторское свидетельство СССР № 1 404 517
«Способ предотвращения вторичного засоления почвы»

Изобретение относится к сельскому хозяйству и относится к снижению содержания солей в почвенном профиле. Способ осуществляют следующим образом: бурят скважины диаметром 50−200 мм на глубину, превышающую 0,5 м ниже уровня залегания грунтовых вод в направлении уклона грунтовых вод. В каждую скважину вносят около 2 кг натриевых солей алкилароматических сульфокислот общей формулы С12 Н2n+1 ArSO3Na, где n = 8 — 12. Скважины засыпают путем перекапывания почвы на глубину 25−30 см в радиусе 40−50 см от центра скважины с последующим уплотнением почвы.

Авторское свидетельство СССР № 1 428 297
«Способ рассоления почвы»

Изобретение относится к мелиорации и может
быть использовано при промывке тяжелых
засоленных земель. Цель изобретения — снижение
затрат промывной воды. Способ включает нарезку
щелей на глубину расселяемого слоя почвы,
обвалование краев щелей, увлажнение рассоляемого
слоя на глубину нарезки щелей. После промачивания
почвы производят рыхление или мульчирование
поверхности межщелевых полос и последующее
удаление солей, выносимых капиллярным током
на стенки щелей.

1987

Авторское свидетельство СССР № 1 511 322
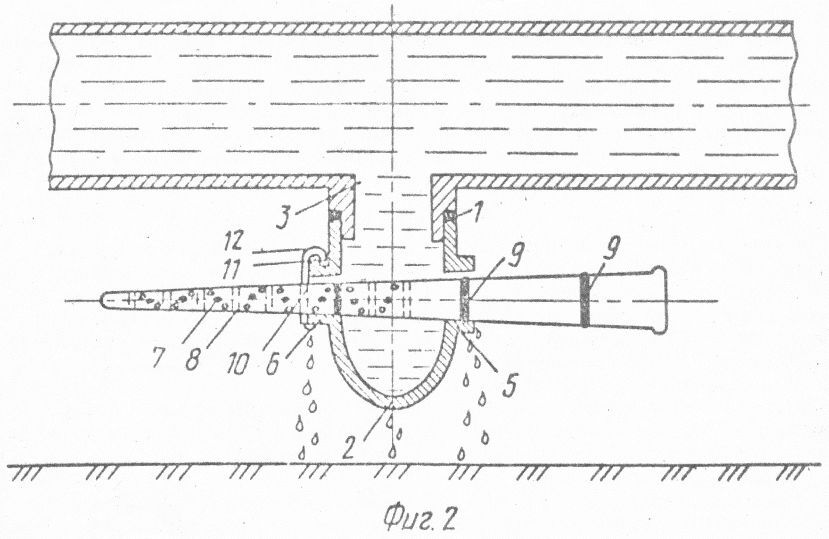
«Устройство для очистки канала от наносов»

Устройство содержит уложенные на дне канала перфорированные трубы, сообщенные пневмопроводом 3 с механизмом подачи сжатого воздуха, расположенным на дороге и выполненным в виде основания 5 с ячейками б и установленной над ним на демпферных пружинах 11 с телескопическими направляющими элементами 12 платформы 9 с выпуклостями 10, расположенными над ячейками 6. В ячейках 6 размещены самонадувные эластичные камеры 7, сообщенные каналами 8 с пневмопроводом 3, имеющим обратные клапаны 17 и 18. При наезде и съезде автомобиля с платформы 9 выпуклости 10 сжимают и выдавливают воздух из камер 7, который поступает в перфорированные трубы через клапан 17, а через клапан 18 происходит наполнение камер 7 атмосферным воздухом.

Авторское свидетельство СССР № 1 527 189
«Устройство для очистки воды»

Устройство содержит трубчатый элемент (ТЭ) 1 с полостями 6 и 7 из упругого газонепроницаемого материала, камеру 4 с V-образной полостью 5, а также воздухопроводящую камеру 8. ТЭ размещен в пазах 2 на гранях стыкуемых плит 3. Полость 7 расположена в полости шва, ширина которого превышает ширину полости 6 и изолирована от основной камеры 4 ТЭ. Трубка 10 имеет боковые сопла 12 в направлении движения водного потока. При нагнетании воздуха в камеру 8 шаровой клапан 11 стравливает через сопло 12 воздух в придонную часть канала, аэрируя вышерасположенный слой воды и взмучивая наносы, что ведет к биохимическому окислению веществ и увеличению транспортирующей способности водного потока.

Авторское свидетельство СССР № 1 507 961
«Способ извлечения соли из засоленных почвогрунтов при близком залегании грунтовых вод и устройство для его осуществления»

Изобретение относится к области добычи полезных ископаемых, в частности солей. Сущность способа: формируют протяженные щели с интервалом между ними 1,25—2,50 м на глубину, не превышающую глубины залегания грунтовых вод, края щелей обваловывают грунтом, межщелевую поверхность мульчируют. Выпавшую в результате испарения грунтовой воды на вертикальных поверхностях щелей соль складируют в приспособленном для этого солеприемном контейнере.

Авторское свидетельство СССР № 1 541 339
«Способ герметизации швов облицовки канала»

Изобретение относится к устройству устойчивых к разрушению растительностью облицовок каналов. Способ включает увлажнение грунта, подстилающего расширенную полость шва и внесение в него неотсортированного битого стекла с последующим уплотнением. Зауженную часть полости шва заполняют поочередно подосновой, например, асфальтобетоном и затем герметизирующей мастикой с уплотнением каждого из этих субстратов.

Авторское свидетельство СССР № 1 606 023
«Устройство для рассоления почвы»

Устройство относится к мелиорации засоленных земель. Сущность устройства: дренажная скважина снабжена распыливающим соплом, испарительными пластинами, закрепленными ниже сопла в виде конуса, и солеприемником, при этом испарительные пластины снабжены ребрами и имеют щелевые отверстия, расположенные в шахматном порядке, через которые пропущен и закреплен волокнистый водовпитывающий материал, концы которого выведены в солеприемник, сообщенный сливным патрубком с фильтровым каркасом скважины.

1988

Авторское свидетельство СССР № 1 555 415
«Способ защиты деформационных швов облицовки канала от разрушений растительностью»

Изобретение относится к строительству облицованной оросительной сети и может быть использовано для предохранения деформационных швов облицовки каналов от разрушений растительностью. Для этого стерилизацию грунтов, подстилающих облицовку канала, осуществляют после укладки на подготовленное земляное ложе полиэтиленовой пленки сборных железобетонных плит и бетонных покрытий. посредством прокола пленки. Через прокол под пленку вводят рабочий орган устройства для вспрыскивания рабочей жидкости системного гербицида и осуществляют ее впрыск в подстилающий деформационный шов грунт. Затем выводят рабочий орган устройства из-под пленки и герметизируют деформационный шов мастикой.

Авторское свидетельство СССР № 1 634 641
«Способ опреснения минерализованной воды и устройство для его осуществления»

Опреснение воды предложенным устройством ведут посредством насыщения всего объема пористого материала в резервуаре до влажности, не превышающей наименьшей влагоемкости, перемещение воды осуществляют к боковой испаряющей поверхности перфорированной поверхности резервуара с последующим испарением воды, пар конденсируют в дистилляционной камере, а образующиеся соли отслаивают с боковой поверхности перфорированной поверхности резервуара и отводят в солеприемный контейнер.

Авторское свидетельство СССР № 1 547 789
«Мелиоративная система»

Мелиоративная система, включающая нарезанные на рассоляемом поле щели, в которых установлены полые короба с перфорированными стенками, снабженными вибраторами, на дне короба размещен транспортер, а в верхней части — дистилляционная камера с гофрированными стенками, паропропускными окнами, защитным козырьком и каналом для сбора конденсата, сообщенным с оросительным устройством, при этом водопроводящие магистрали расположены внутри конденсационной камеры.

Авторское свидетельство СССР № 1 562 404
«Мелиоративная система для промывки солончаковых почв»

Мелиоративная система, включающая водооотводящую сеть, выполненную в виде уплотненных ложбин, впадающих в однобортный собиратель, сообщенный с накопительными емкостями, которые расположены у смотровых колодцев и гидравлически связаны с ними посредством поворотных коленчатых патрубков.

Авторское свидетельство СССР № 1 562 388
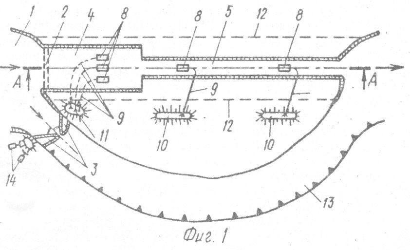
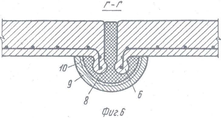
«Противофильтрационное устройство для канала оборудованного эксплуатационной дорогой»

Противофильтрационное устройство имеет вмонтированную в полотно эксплуатационной дороги канала бетонную подоснову 1 сячейками, в которых расположены сильфоны 2. Поверх сильфонов 2 на демпферах 3 и шарнирных соединениях расположена грузовая платформа 5, воспринимающая нагрузку. Нижняя часть сильфонов подключена к воздухопроводу 7, который имеет воздухоподводящий 8 и воздухоотводящий 9 клапаны. Воздухоотводящий клапан 9 запитывает воздухом перфорированную трубу, расположенную в нижней части канала в полости между двумя противофильтрационными экранами и заполненной пористым материалом. В верховой части откоса канала экраны загерметизированы замком из противофильтрационного материала для уменьшения утечек воздуха в атмосферу.

Авторское свидетельство СССР № 1 606 023
«Способ рассоления почвы»

Изобретение относится к мелиорации и может быть использовано для рассоления тяжелых почв. Цель изобретения уменьшение затрат воды и сокращение продолжительности промывного периода. На поле нарезают щели 1 с валиками 3, а между ними располагают щели 2, заполненные песком. На первом этапе рассоления воду подают на поверхность 5, покрытую мульчей 6. После достижения почвой наименьшей влагоемкости промывную воду подают в песок щели 2. Промывной ток имеет преимущественное направление в сторону щелей 1. При таком способе резко уменьшается глубинная фильтрация воды и обеспечивается более полное удаление солей. 2 ил.

Авторское свидетельство СССР № 1 559 036
«Способ защиты берега от размыва потоком и устройство для его осуществления»

В основании берега устраивают продольные выемки, в которые заводят полотнище (П) из прочного материала, далее на П укладывают продольный ряд мешков с грунтом экскавации, после чего производят пригрузку П грунтом. В зоне волнового воздействия на берег укладывают частично заглубленный в грунт пилообразный ряд заполненных грунтом мешков с последующим оборачиванием П образованного тюфяка. Верхние, нижние и боковые концы П, а также края соседних тюфяков скрепляют между собой.

Авторское свидетельство СССР № 1 576 049
«Мелиоративная система для освоения такыров»

Мелиоративная система включает дрены 1, щели 2, заполненные песком 3 и перекрытые экраном 4. Экраны 4 выполнены в виде заполненных песком влагопроницаемых мешков. Межщелевые полосы 5 выполнены в виде двухскатного гребня с уклоном в сторону щелей. Осадки по поверхности такыра стекают в щели 2 и накапливаются в дренах 1. Запас влаги в дренах способствует произрастанию солеустойчивой растительности, которая со временем становится пригодной для выращивания сельхозкультур.

Авторское свидетельство СССР № 1 654 261
«Устройство для отделения соли из минерализованной воды»

Устр-во включает конденсационную камеру (К) 7 с патрубком 8 для отвода конденсата и трубчатым теплообменником (Т) 5. Выходная часть Т 5 соединена с емкостью 11, снабженной радиационными пластинами 6 для подогрева воды 12. Внутри испарительной камеры 10 имеется испарительная пластина (ИП) 16 с ребрами 17. Нижняя часть ИП 16 опирается на сливной патрубок 21, выведенный в скважину 1. Верхняя часть ИП 16 соединена с козырьком 22. К 7 и К 10 сообщаются посредством окна 14, в котором установлен вентилятор 15 для подачи паровоздушной смеси из К 10 в К 7. Вода 12 из емкости 11 через распылитель 13 подается в К 10 и, попадая на ИП 16, стекает по ней и ребрам 17 к сливному патрубку 21, увлажняя волокнистый водовпитывающий материал (ВВМ) 18, закрепленный на щелевых отверстиях. Выкристаллизовывающаяся в процессе испарения с ВВМ соль осыпается в солеприемник 19.

Авторское свидетельство СССР № 1 657 573
«Способ предотвращения заиления защитнофильтрующего материала дренажной трубы»

Изобретение относится к мелиорации засоленных земель, в частности к строительству закрытого дренажа в водонасыщенных грунтах. Перед началом строительства дренажа на ровной площадке защитнофильтрующий материал обматывают фильтрующим биологически разлагаемым материалом, например фильтровальной бумагой в один рулон. В процессе работы дреноукладчика по всей поверхности биологически разлагаемого материала наносят слой водорастворимого полимера, обматываемого вместе с защитно-фильтрующим материалом вокруг дренажной трубы. Применение способа ведет к образованию в околодренном пространстве надежного естественного фильтра, препятствующего заилению дренажной трубы.

Авторское свидетельство СССР № 1 682 464
«Устройство для очистки канала от наносов»

Устройство включает прямоугольную решетку со стержнями 2, которая расположена на закрепленных в дне канала направляющих 6. По торцам решетки имеются упоры, ограничивающие ее продольное смещение, а в центре на крайних стержнях 2 установлены перфорированные ферромагнитные якоря 3. Напротив каждого якоря 3 расположен закрепленный в дне канала электромагнит 1, который размещен в рубашке из гидрозащитного материала. Для попеременного включения электромагнитов I с заданным интервалом времени они подключены к источнику тока через реле времени.

Авторское свидетельство СССР № 1 618 344
«Капельница»

При подаче воды в поливной трубопровод 11 его сообщение с атмосферой достигается благодаря зазору в прорези-водоводе в результате прилегания шарового клапана 6 к круглому отверстию 10. Величина зазора определяется натяжением пружин 9, глубиной прорезей-водоводов и давлением воды в трубопроводе 11. Вода, поступающая в зазор, стекает по прорезям-водоводам к основанию шарового клапана 6. Затем через отверстие, выполненное в днище крышки поступает в корнеобитаемую зону растений.

Авторское свидетельство СССР № 1 618 345
«Капельница»

Капельница, содержит корпус конической формы с входным и выходным патрубками, и установленный в нем поплавок в форме шара с прорезями-водоводами, расположенными на его поверхности во взаимно перпендикулярных плоскостях, в нижней части корпуса, капельница снабжена сетчатым фильтром.

Авторское свидетельство СССР № 1 655 376
«Устройство для капельного полива»

Устройство снабжено полым стаканом, герметично установленным на патрубке поливного трубопровода, при этом на боковой поверхности стакана, в нижней части выполнены диаметрально расположенные отверстия для размещения шнура, причем диаметр шнура равен диаметру одного из отверстий, но больше диаметра второго отверстия. В нижней части стакана имеется фиксатор. Шнур размещен за пределами стакана в полости водопроводящей трубки.

Авторское свидетельство СССР № 1 638 110
«Устройство для опреснения минерализованной воды»

Устройство снабжено полым стаканом, герметично установленным на патрубке поливного трубопровода, при этом на боковой поверхности стакана, в нижней части выполнены диаметрально расположенные отверстия для размещения шнура, причем диаметр шнура равен диаметру одного из отверстий, но больше диаметра второго отверстия. В нижней части стакана имеется фиксатор. Шнур размещен за пределами стакана в полости водопроводящей трубки.

1989

1990

Авторское свидетельство СССР № 1 677 179
«Способ укрепления грунта»

Изобретение относится к строительству и может быть использовано преимущественно для укрепления фильтрующих поперечников и откосов каналов. Цель изобретения повышение устойчивости русла канала против гидродинамической деформации. Поставленная цель достигается посредством понижения уровня грунтовых вод ниже отметки деформационно опасной зоны фильтрующего поперечника канала, устройство скважин по трассе канала и нагнетание через них смеси натриевых солей рафинированных алкилароматических сульфокислот и водорастворимого продукта неполного омыления отходов производства волокна «Нитрон» в количестве соответственно 0,012−0,018 и 0,03−0,05% от объема грунта деформационно опасной зоны, после чего скважины заполняют грунтом обратной засыпки. Изменение глубины дна канала под гидродинамическим напором фильтрующейся через поперечник канала воды составляет 1,1−2,8%.

Авторское свидетельство СССР № 1 687 708
«Пионерная прорезь для выправления русла открытого водотока»

На месте, ограниченном русловой петлей, выполняют пионерную прорезь с двумя участками 4 и 5. Входной участок 4 выполнен широким, с горизонтальным дном, а рабочий участок 5 с уклоном дна в сторону выходной части. Длина входного участка 4 примерно равна 1/3 общей длины прорези. При пропуске безнапорного потока по прорези вода во входном участке 4, постепенно наращивает свою потенциальную энергию и при переходе на рабочий участок 5 в результате стеснения потока и увеличения скорости его движения интенсивно размывает русло с выносом продуктов размыва за пределы прорези.

Авторское свидетельство СССР № 1 682 464
«Устройство для очистки канала от наносов»

Устройство имеет прямоугольную решетку 13 с щетками, подпятники 12, в которых шток 11 поршня 10, в корпусе цилиндра 1 упирается торцом в подпятник 12. Цилиндр 1 герметично закрыт крышкой 2 со штуцером 3 подачи сжатого воздуха, соединенным посредством шланга 4 и обратного клапана с магистральным воздухопроводом. Корпус цилиндра 1 имеет стравливающий патрубок 7, сообщенный посредством шланга 8. с атмосферой. Для предотвращения попадания воды в корпус цилиндра 1 устройство снабжено эластичным гофрированным влагонепроницаемым материалом 14, закрепленным с одной стороны на направляющем патрубке, а с другой — на подпятнике 12 решетки.

Авторское свидетельство СССР № 1 681 772
«Сигнализатор прекращения полива»

Сигнализатор состоит из измерительной трубки (ИТ) 2 со шкалой, шарнирно соединенной с крышкой 1. ИТ 2 содержит балластный груз (БГ) 3, подвешенный к крышке 1 посредством нити 4. Крышка 1 имеет упор 5 и сигнальный элемент 7. БГ 3 в виде влаговпитывающего материала заключен в водопроницаемый мешочек 10, в который заведен контактирующий с почвогрунтом 11 влагопроводящий фитиль 12.

Авторское свидетельство СССР № 1 680 019
«Сигнализатор прекращения полива»

Устройство содержит измерительный щуп 7 в виде полой трубки 1, одним концом соединенной резьбой с полым перфорированным наконечником (ПК) 2, а другим — с полой рукоятью 3, торцовая часть которой снабжена узлом 4 оповещения. Рукоять 3 содержит сверху наковальню 5, под которой расположен обратный клапан 6. ПК 2 содержит химический реагент 7, размещенный в мешочке с песком 8.

Авторское свидетельство СССР № 1743480
"Сигнализатор прекращения полива"

Сигнализатор снабжен за сыпанным внутрь полого щупа сверху водопроводящего фитиля (ВФ) слоем из легкорастворимого материала (ЛМ), взаимодействующего с ВФ, при этом стойка флажка выполнена в виде трубки с гнездом, крышка щупа имеет центральное отверстие, а механизм фиксации сигнального элемента выполнен в виде проходящего через центральное отверстие крышки и взаимодействующего с гнездом стойки флажка штока, который установлен на слой из ЛМ.

Авторское свидетельство СССР № 1761681
"Устройство для опреснения минерализованной воды"

Устройство содержит дистилляционную камеру, резервуары заполненные пористым материалом и выполненные с возможностью испарения влаги, опоры резервуаров, испарительную камеру, солеприемные контейнеры, паропропускную трубу, трубчатый газонепроницаемый элемент с обратным клапаном для подачи сжатого газа, увлажнительный трубопровод с основным и дополнительным щелевыми отверстиями, продетый и пропущенный через эти отверстия волокнистый водовпитывающий материал с расправляющей планкой и механизмом его установки.

Авторское свидетельство СССР № 1 739 905
«Капельница»

Капельница содержит размещенный в полости, образованной выходным патрубком и крышкой обратный клапан, выполненный в виде герметично соединенной с патрубком воздухоподводящей трубы, полой камеры из упругого газонепроницаемого материала, снабженной конусообразным запорно-регулирующим элементом с опоясывающим его основание грузом и установленным с возможностью вертикаль ного перемещения относительно стенок полости выходного патрубка, состоящего из двух соосных цилиндров различного диаметра, при этом малое выходное отверстие выходного патрубка сообщено с поливным трубопроводом.

Авторское свидетельство СССР № 11 759 324
«Устройство для капельного полива»

На боковых стенках стакана, соединенного с патрубком поливного трубопровода, выполнены отверстия-патрубки большего и меньшего диаметров. В отверстия вставлен конусный штырь 7, со сквозными отверстиями-рисками 8. Внутри отверстий-патрубков находятся уплотнительные кольца 9. Для фиксации штыря в заданном положении в зависимости от заданного расхода воды устройство снабжено запорным элементом 10, пропущенным через отверстия-риски 8 и закрепленным посредством зацепления загнутой части 12 запорного элемента за буртик 11.

Авторское свидетельство СССР № 1 760 004
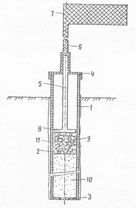
«Устройство для очистки от заиления дренажной трубы»

Изобретение относится к дренопромывочным установкам. Сущность изобретения: устройство включает напорный трубопровод, соединенный с эжектором и гибким шлангом, а также трубку с реактивным насадком. Трубка имеет рабочую с отверстиями и нерабочую, ограниченную упорами, поверхность и содержит выполненный с возможностью перемещения в ней между упорами цилиндрический патрон с закрылками в торцевой части. Под действием давления поступающей пульпы на закрылки цилиндрический патрон смещается к упорам и открывает отверстия на рабочей части трубки.

Авторское свидетельство СССР № 1 715 941
«Способ герметизации швов облицовки канала»

Нижнюю часть полости шва между плитами 1 заполняют герметиком 2 и производят его уплотнение. В зимний период времени поверхность герметика промазывают пластичной смазкой 3, после чего производят укладку в шов упругого трубчатого элемента 4 с последующим замоноличиванием его с боков субстратом 5 заподлицо с верхней плоскостью облицовки. Трубчатый элемент предотвращает разрушение герметика в полости шва, а наличие пластичной смазки устраняет затекание воды в зону контакта герметика с твердым субстратом.

Авторское свидетельство СССР № 1 708 993
«Способ герметизации швов облицовки канала»

Производят уплотнение подстилающего полость шва грунта 1 между плитами 2. В образовавшуюся в результате уплотнения грунта полость вводят цементный раствор 3. После схватывания цементного раствора 3 на его поверхность наносят уплотнительный состав. В качестве уплотнительного состава используют пластилиновую замазку 4, поверх которой наносят пластичную смазку 5. Затем полость шва заполняют асфальтобетоном 6 заподлицо с верхней плоскостью облицовки.

Авторское свидетельство СССР № 1 715 942
«Способ герметизации швов облицовки канала»

Производят уплотнение грунта 1 подстилающего полость шва между плитами 2. В нижней части полости шва устраивают уплотненный грунтовый валик 3. Нижнюю половину полости шва заполняют цементным раствором 4, в средней части которого устраивают щелевую прорезь. В прорезь вставляют пропитанную пластичной смазкой упругую пористую вставку 5, зафиксированную пробками 6. Работы завершают заполнение верхней половины полости шва пластичным герметиком 7 заподлицо с верхней плоскостью облицовки.

Авторское свидетельство СССР № 1 723 236
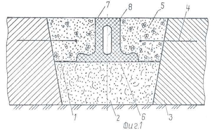
«Деформационный шов облицовки канала»

Изобретение относится к устройству устойчивых к разрушению растительностью облицовок каналов. Нижняя половина полости деформационного шва содержит покрытый пластичной смазкой 1 герметик 2, а верхняя имеет в средней части шва замоноличенный в твердом субстрате 5 упругий элемент 6 в виде двутавровой балки и содержит между верхним и нижним основаниями подковообразный паз. В пазу размещена соединенная с анкерами 4 облицовки 3 фиксирующая вставка 7. Верхнее основание упругого элемента 6 совмещено с верхней плоскостью облицовки 3.

Авторское свидетельство СССР № 1 730 340
«Деформационный шов облицовки канала»

Изобретение относится к устройству устойчивых к разрушению растительностью облицовок каналов. Сущность изобретения: внутренняя часть полости Деформационного шва содержит покрытый снаружи Пластичной смазкой асфальтобетон, а расположенный Во внешней части полости трубчатый элемент выполнен в Д-образной форме и установлен большим основанием на асфальтобетон, причем поверхность указанного основания покрыта пластичной смазкой, а малое основание трубчатого элемента установлено заподлицо с внешней поверхностью облицовки.

Авторское свидетельство СССР № 1 728 339
«Облицовка канала»

Изобретение относится к устройству устойчивых к разрушению растительностью облицовок каналов. Сущность изобретения: С тыльной стороны плиты содержат донные растениеотводящие прорези 6 с постоянным сечением по дну и увеличивающимся от подошвы откоса к бровке канала. Граничащая с бровкой канала часть откосной прорези снабжена введенной в нее зафиксированной трубкой, сообщающей прорезь с дневной поверхностью. В основании поперечных донных, и откосных швов в полости, заходящей за нижние кромки шва размещен несжимаемый и непроницаемый для сорняков 9 элемент 11. Верхняя поверхность элемента 11 покрыта пластичной смазкой 13. Полость шва заполнена герметиком 14. С тыльной стороны элемент 11 снабжен донными 6 и откосными растениеотводящими прорезями и оборудован трубкой.

Авторское свидетельство СССР № 1 757 533
«Сигнализатор прекращения полива»

Сигнализатор включает заглубляемый в почву измерительный полый щуп (ИЩ) 1 со шкалой, верхний выступающий торец, которого снабжен направляющим элементов для гибкой тяги 6, связывающей размещенный в полости из ИЩ 1 на поверхности водопроводящего фитиля 9 водопроницаемый мешочек 7, заполненный водорастворимым материалом 8. с сигнальным элементом 4, расположенным на откидной штанге 3 шарнирно установленной на внешней стенке ИЩ 1.

1992

1991

Авторское свидетельство СССР № 1 804 751
«Сигнализатор прекращения полива»

Сигнализатор снабжен грузом, размещенным в нижней части влагочувствительного элемента и соединенным посредством свободно висящей гибкой нити с противовесом, размещенным вне полости измерительного щупа, а влагочувствительный элемент выполнен из гигроскопического материала, прочность которого на разрыв в увлажненном состоянии меньше усилия натяжения гибкой тяги.

Авторское свидетельство СССР № 1 787 373
«Сигнализатор влажности почвы»

Сигнализатор снабжен установленным в корпусе каркасным узлом, внутри которого жестко закреплен влагочувствительный элемент (ВЭ), а в нижней части — груз, охватывающий боковую поверхность ВЭ, на внутренней поверхности полого трубчатого корпуса выполнен кольцевой выступ, на который опирается крышка с отверстием через которое проходит гибкая тяга, связывающая каркасный узел со стопорным элементом над крышкой и соединенным с динамометром, проградуированным в единицах влажности почвы, а ВЭ выполнен в виде водопроводящего фитиля.

Авторское свидетельство СССР № 1 788 130
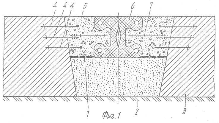
«Деформационный шов»

Изобретение относится к устройству устойчивых к разрушению растительностью облицовок каналов. Сущность изобретения: упругий элемент деформационного шва облицовки снабжен сообщенными с его основанием, размещенными в расширяющемся элементе анкерами, верхняя поверхность основания упругого элемента является в поперечном сечении волнообразной и пригружена с боков тыльной стороной, образующих шов плит. В местах сообщения с анкерами основание армировано жестким стержнем. При этом зона контакта боковой поверхности плит с расширяющимся элементом и упругого элемента с тыльной стороной плит содержит антифрикционный состав, а расширяющийся элемент выполнен с возможностью его перемещения в вертикальной плоскости при линейной температурной деформации плит.

Патент Российской Федерации № 2 012 707
«Способ защиты деформационных швов облицовки канала от биологических разрушений»

Изобретение относится к устройству устойчивых к разрушению растительностью облицовок каналов. Сущность изобретения состоит в создании под деформационным швом облицовки канала растениеотводящей полости, которую выполняют после завершения работ по обустройству деформационного шва. Стенки полости пропитывают раствором грунтоукрепляющего вещества. Прорастающие под облицовкой сорные растения вследствие фототропических и геотропических реакций выходят по растениевотводящей полости на бровку канала не повреждая швы облицовки.

Патент Российской Федерации № 2 031 194
«Деформационный шов бетонной облицовки канала»

Изобретение относится к устройствам для герметизации деформационных швов облицовки каналов, устойчивых к разрушению растительностью. Сущность изобретения состоит в устройстве и сочленении торцов соседних плит с образованием верхней прямоугольной и нижней трапециевидной полостей между боковинами плит, причем обращенные одна к другой полости выступов покрыты антифрикционным материалом. При этом в верхней полости шва размещен герметик, а нижняя полость шва является полой.

Патент Российской Федерации № 2029821
"Облицовка канала"

Изобретение относится к устройствам для герметизации деформационных швов облицовки каналов, устойчивых к разрушению растительностью. Сущность изобретения состоит в устройстве и сочленении торцов соседних плит с образованием верхней прямоугольной и нижней трапециевидной полостей между боковинами плит, причем обращенные одна к другой полости выступов покрыты антифрикционным материалом. При этом в верхней полости шва размещен герметик, а нижняя полость шва является полой.

Патент Российской Федерации № 2 050 771
«Устройство для капельного полива»

Устройство содержит водовыпускные отверстия на Трубопроводе, выполненные в виде щелевых прорезей, а пропущенный через них шнур имеет форму удлиненной трапеции и нанесенные на его поверхности регулировочные риски, при этом фиксатор положения шнура выполнен в виде зажимного элемента для защемления шнура у границы водовыпускных щелей трубопровода.

Патент Российской Федерации № 2 101 950
«Способ борьбы с тепличной белокрылкой и устройство для его осуществления»

Изобретение относится к области сельского хозяйства, в частности к приемам защиты растений от тепличной белокрылки. Сущность изобретения состоит в использовании натриевых солей алкилароматических сульфокислот посредством специального устройства для закупорки дыхательных путей белокрылки.

Патент Российской Федерации № 2 058 699
«Способ предпосевной обработки семян»

Изобретение относится к области сельского хозяйства. Сущность изобретения состоит в воздействии на семена 0,01−0,05% водного раствора стимулятора прорастания семян в течении 8−24 часов перед проведением посева. В качестве стимуляторов могут быть использованы натриевые слои аолкилароматических сульфокислот, в частности пенообразователи ПО-1Д, ПО-1 и ДС-РАС

Патент Российской Федерации № 2 050 117
«Сигнализатор полива»

Сигнализатор содержит измерительный щуп со шкалой расстояний и крышкой с отверстиями, через которые проходит шток, соединенный с планкой. Перфорированный упор штока установлен на фитиль, регистрирующий почву на влажность. Сигнальная стойка с флажком посредством прорези с гнездом взаимодействует с кронштейном и планкой штока. Горизонтальная часть кронштейна и планка штока свободно перемещаются в прорезях стойки и опор. При работе устройства в режиме сигнализатора начала полива планку устанавливают в гнездо стойки, а кронштейн — в прорезь стойки, а в режиме прекращения полива-наоборот.